化学是一门以实验为基础的科学,化学实验真实有趣而且能锻炼动手能力。不管是理论实验考试还是实验操作考试都不能轻视。以三条CIE历年真题为例说一下实验题中常考知识点和实验室操作注意事项。
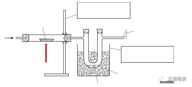
1. The diagram shows the apparatus used to reduce copper(II) oxide with hydrogen.
(a) Complete the boxes to name the apparatus.
Stand ;beaker
(b) Use an arrow to indicate where heat is applied.
(c) The colour of the copper(II) oxide changes from black to red.
(d) Suggest a reason why the U-tube is surroundedby ice to condense the water vapour
注意:
三态变化单词拼写要熟练melts,evaporates,condense/liquify,freezes
(e) (i) Identify the colourless liquid formed water
(ii) Give a chemical test for this liquid.
test add liquid to anhydrous copper(II)sulfate
result turns from white anhydrous copper(II)sulfate to blue
注意:检验水的方法常考两种anhydrous copper(II)sulfate变蓝;Cobalt(II)chloride变粉红
(iii) How could you show that this liquid is pure?
If the water contains impurities, the boiling point of the water will change.
注意:溶液依数性包括蒸气压下降,沸点升高,凝固点下降,渗透压变化
2. Two solids, E and F, were analysed. Solid E was sodium sulfite. Both solids were found to be water soluble.
The tests on the solids, and some of the observations, are shown below.
Tests on solid E
(a) Describe the appearance of the solid.
white solid
(b) Distilled water was added to solid E in atest-tube and shaken to dissolve.
The solution was divided into two portions in two test-tubes and the following tests carried out.
(i) Aqueous sodium hydroxide was added to the first portion of the solution.
No change
(ii) Dilute hydrochloric acid was added to the second portion of the solution. The mixture was warmed. The gas given off was tested with a piece of filter paper soaked in aqueous acidified potassium manganate(VII) solution.
observations turns from purple to colourless
注意:书上P283,2H+ + SO32- = H2SO3亚硫酸不稳定,在酸性条件下很快分解:H2SO3 = H2O + SO2反应的结果就是有二氧化硫气体产生,5 SO2 + 2 MnO4-+ 2 H2O = 2 Mn2+ + 4 H+ + 5 SO42-。KMnO4属于很好的oxidising agent,SO2 是reducing agent二者发生redox reaction。所以能使KMnO4褪色,而离子检验如果还没有记住的同学,考试之前一定回顾一下。
(c) A flame test was carried out on solid E.
observations yellow/orange flame
注意:E中含有Na,焰色反应iron(colourless),Cu(blue-green),K(purple),Na(yellow),Li(red),Ca(Brick red)几个离子颜色要熟悉
tests on solid F

(d) Identify the gas given off in the tests on solid F.
ammonia/NH3
注意:turn litmus blue 推出gas是ammonia/NH3
(e) Identify one of the ions in solid F.
ammonium/NH4+
注意:ammonium/NH4+一遇到OH- 就会有ammonia/NH3生成
3. Potassium sulfate is the salt produced when sulfuric acid is neutralised by potassium hydroxide solution. The correct amount of potassium hydroxide solution must be added to neutralise all of the sulfuric acid. Plan an experiment to obtain pure crystals of potassium sulfate from sulfuric acid and potassium hydroxide solution. You are provided with common laboratory apparatus.
1. known volume sulfuric acid(V1 ml)得一分;
2. add Phenolphthalein as indicator得一分;
3. add potassium hydroxide solution to the acid untilthe indicator changes to pink得一分;
4. note the volume of potassium hydroxide solution added(V2 ml)得一分;
5.用滴定的方法,第一次用indicator测出acid和potassium hydroxide的体积比,第二次不加indicator,按照第一次的体积比直接混合,得到的产物过滤洗涤干燥,得到纯净的晶体。制备好之后的如何处理(得两分)获得pure crystals of potassium sulfate
6. heat the solution to crystallising point until crystals start to form 得一分;
7. filter to get crystals/dry crystals on filter paper 得一分
注意:
Experimental operation notes :
1. It is forbidden to wear vest and shorts and expose too many skin.
2. Tie up long hair .
3. Do not bring contact lenses.
4. Careful operation.
5. Drugs and waste solids/liquids should be placed in designated containers.
6. Wash your hands carefully after the experiment to prevent chemical poisoning.
